Description


Metric
Imperial
Main Dimensions & Performance Data
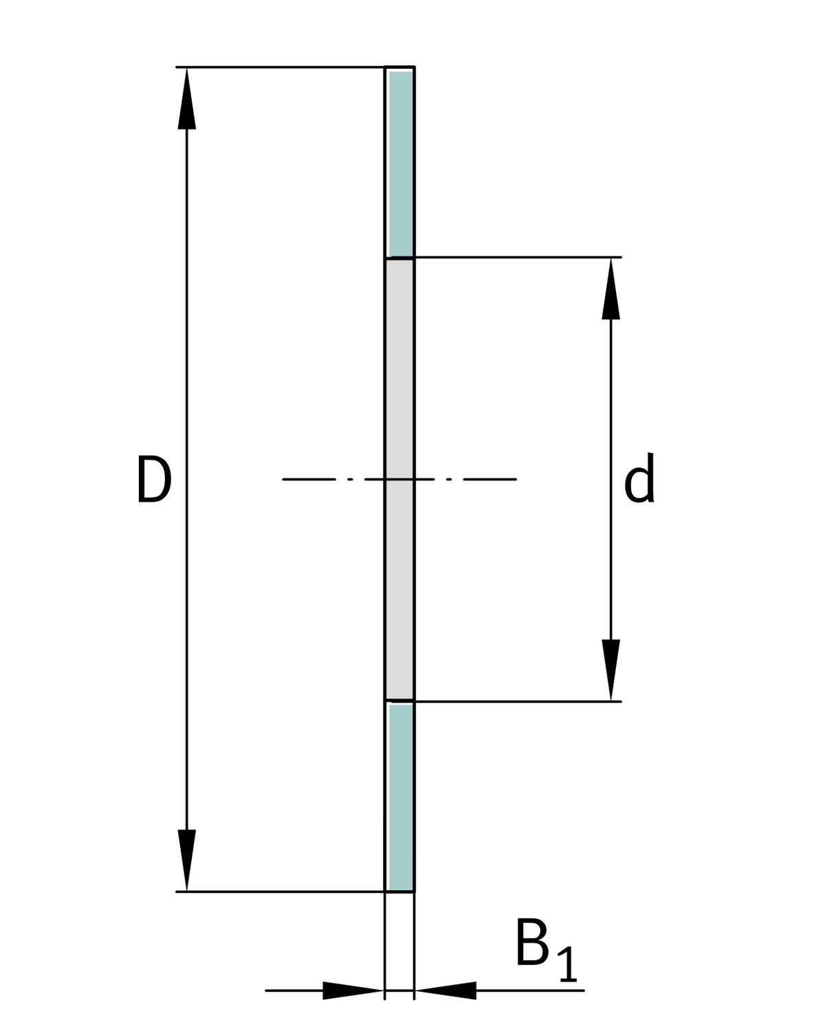
| d | 150 mm | Bore diameter bearing washer |
| D | 190 mm | Outside diameter bearing washer |
| B1 | 1 mm | Hight bearing washer |
| ≈m | 78.2 g | Weight |
Downloads:


Metric
Imperial
| d | 150 mm | Bore diameter bearing washer |
| D | 190 mm | Outside diameter bearing washer |
| B1 | 1 mm | Hight bearing washer |
| ≈m | 78.2 g | Weight |